Ford continues to push the boundaries of electric and hybrid vehicle technology, and a newly published patent filing suggests an exciting future for plug-in hybrid vehicles (PHEVs). The automaker has proposed a vehicle-to-vehicle (V2V) charging system specifically designed for PHEVs – a feature that could bring added convenience and flexibility to drivers.

The concept builds on the proven success of the Ford F-150 Lightning’s V2V charging capability, which allows owners to transfer energy to other EVs. The Lightning’s system, for example, can add an estimated 20 miles of range per charging hour to a Ford Mustang Mach-E with an extended-range battery and rear-wheel drive. Now, Ford is exploring how similar technology could benefit plug-in hybrids, opening the door for new ways to keep these vehicles powered up.

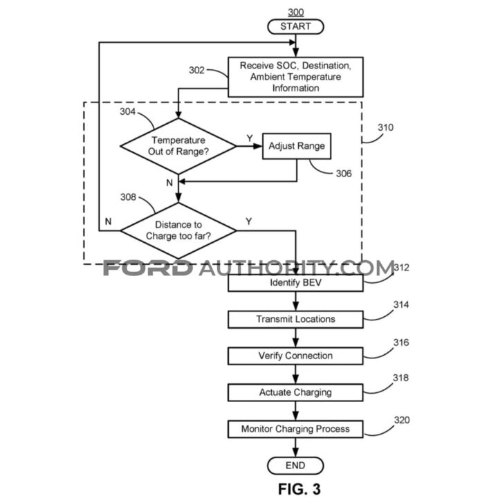
What makes this patent particularly exciting is its focus on two-way flexibility. A PHEV could provide supplemental power to another hybrid or EV in need, or conversely, it could draw extra energy from a fully electric vehicle. Since plug-in hybrids typically offer shorter all-electric ranges, this innovation could extend their usefulness and reduce dependence on gas by topping up whenever a nearby EV is available.

While patents don’t always result in production-ready technology, Ford’s commitment to exploring these systems shows a forward-thinking approach to electrified mobility. If implemented, V2V charging for PHEVs would make hybrid ownership more versatile than ever before, giving drivers new levels of confidence whether they’re in the city or on the open road.
