Ford is always exploring innovative ways to enhance the driving and ownership experience. The automaker has now filed a new patent that envisions vehicles capable of putting on external light shows using their built-in lighting systems. This feature could transform Ford vehicles into interactive, festive displays for holidays, events, or gatherings.

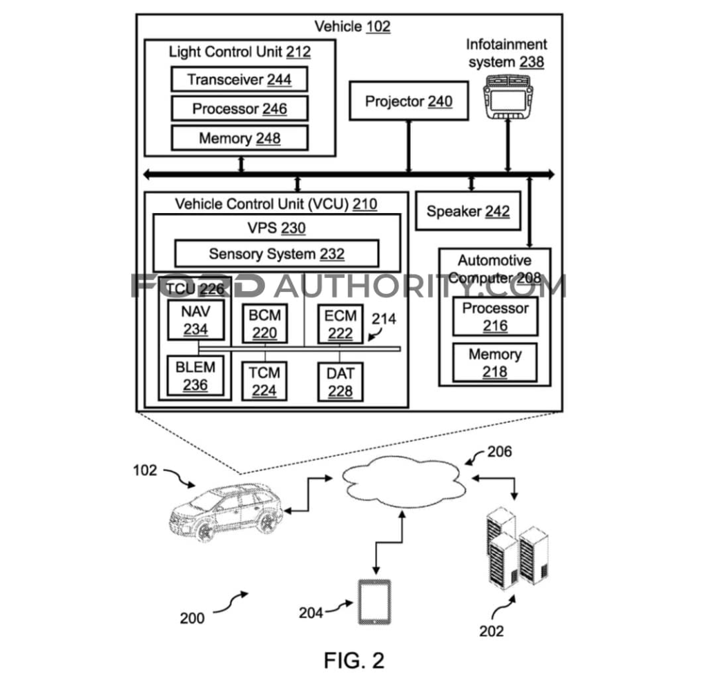
The patent, filed on April 2, 2024, and published on August 26, 2025, outlines a system that would allow owners to use their vehicles’ exterior lights in creative ways. Unlike traditional headlights and taillights designed only for safety, this system could be programmed to create patterns, sequences, or even respond to surrounding lighting themes. It takes inspiration from the way people decorate their homes and cars for special occasions, offering a built-in solution rather than requiring aftermarket add-ons.

This concept builds on Ford’s prior patent for collective zone lighting, which allowed multiple vehicles to illuminate a shared area. The new light show system goes a step further by bringing fun and personalization into the mix. Imagine your Ford Bronco, F-150, or Mustang Mach-E lighting up in sync with music at a block party or glowing in holiday colors in your driveway.

While patents don’t guarantee production, they demonstrate Ford’s vision for blending practicality, technology, and lifestyle. If implemented, this innovation could make Ford vehicles not only versatile on the road but also a centerpiece of celebration. It’s yet another example of how Ford continues to look beyond utility and into customer experience.
