
The patent was filed on May 14th, 2024, published on November 20th, 2025, and assigned serial number 0358359.
Just weeks ago, Ford published a patent for an unattended phone call prevention system aimed at stopping accidental calls, commonly known as butt dials. Now, the automaker is expanding on that idea with a new concept designed to manage another modern annoyance: unwanted and spam phone calls while driving.

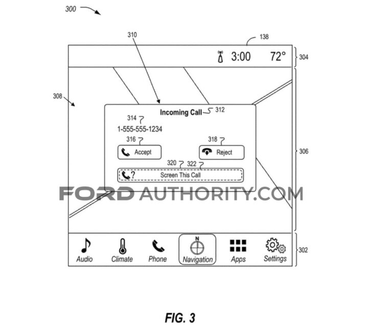
This newly proposed system would analyze incoming calls by comparing data associated with the caller’s number, then presenting occupants with options such as answering the call, hanging up, or screening it. In more advanced use cases, the system could automatically decide whether to screen the call based on the driver’s current cognitive load, or the mental effort required to process information at that moment.

In other words, if the vehicle determines the driver is navigating complex traffic, driving at high speed, or otherwise heavily engaged, it could choose to screen the call automatically rather than interrupting the driver with a distraction.
The goal appears to be improving both convenience and safety by reducing unnecessary interruptions while driving. As vehicles become increasingly connected and software driven, features like intelligent call screening could become a natural extension of modern infotainment systems.
As with all patent filings, there is no guarantee this system will reach production.

“Submitting patent applications is a normal part of any strong business as the process protects new ideas and helps us build a robust portfolio of intellectual property,” Ford said in a statement. “The ideas described within a patent application should not be viewed as an indication of our business or product plans. No matter what the patent application outlines, we will always put the customer first in the decision-making behind the development and marketing of new products and services.”