
The patent was filed on April 18th, 2024, published on October 23rd, 2025, and assigned serial number 0324942.

Ford has published a number of patents in recent years centered around animals, many of which focus on improving safety and comfort for pets traveling inside vehicles. However, the automaker has also explored ideas aimed at detecting large animals such as deer, including systems capable of predicting an animal’s trajectory and helping a vehicle avoid a collision. This newly published patent builds upon those concepts with a broader animal detection system that could be used in future Ford vehicles.
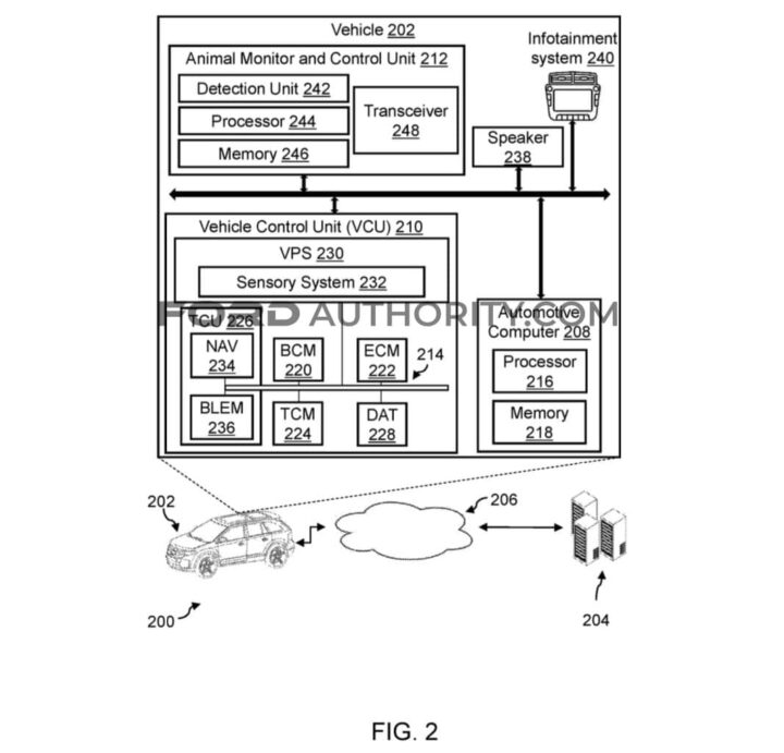
In this case, Ford proposes a system designed to detect the presence of animals both inside and around a vehicle. That could include household pets as well as wildlife, situations where visibility can often be limited. The system would use sensors and cameras to identify animals near the vehicle and relay that information to a server for processing and storage.

One particularly interesting aspect of the concept is its potential use in locating lost pets. If the system determines that a detected animal may be associated with the vehicle owner, it could alert them and provide images along with the animal’s last known location. This data could be sent directly to the owner’s device, helping reunite pets with their families more quickly.
As with all patent filings, this system may never reach production. However, it highlights Ford’s ongoing interest in using vehicle technology to improve safety, awareness, and convenience for both drivers and the animals that share our roads and lives.

“Submitting patent applications is a normal part of any strong business as the process protects new ideas and helps us build a robust portfolio of intellectual property,” Ford said in a statement. “The ideas described within a patent application should not be viewed as an indication of our business or product plans. No matter what the patent application outlines, we will always put the customer first in the decision-making behind the development and marketing of new products and services.”