Ford continues to explore ways to improve everyday vehicle safety, and its latest patent filing focuses on something drivers may not think about often: floor mats. While they seem simple, unsecured or shifting floor mats have caused issues over the years, prompting Ford to investigate a more reliable way to keep them firmly in place.

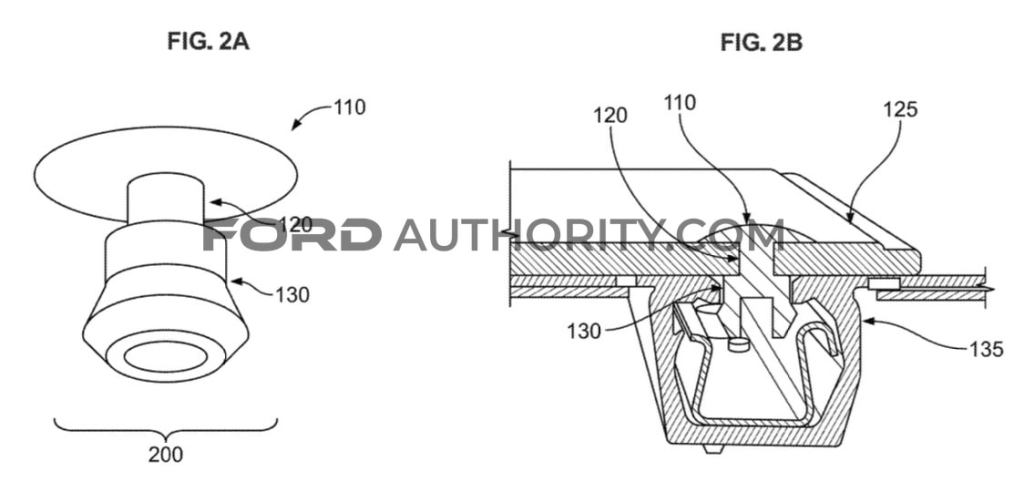
Filed on December 16, 2022, and published on October 14, 2025, the patent describes a floor mat and fixing apparatus that could be used in future Ford vehicles. Rather than relying solely on traditional hooks or clips, the proposed system would secure the floor mat directly to the seat rail, significantly reducing the chance of unintended movement.

This idea builds on Ford’s previous work in this area. Nearly two years earlier, the company published a patent for multifunction floor mats that could fold or provide additional foot support. While that concept focused on comfort and versatility, this newer filing is squarely aimed at stability and safety.
Unsecured floor mats have been linked to rare but serious incidents, including cases of unintended acceleration when mats interfere with pedals. By anchoring mats more securely to fixed vehicle structures like seat rails, Ford’s proposed solution could help eliminate that risk altogether.

As with all patent filings, Ford emphasizes that these ideas are exploratory and not a guarantee of production. However, the concept highlights how even the most overlooked components inside a vehicle can benefit from thoughtful engineering.
By addressing small but meaningful details like floor mat security, Ford continues to demonstrate its commitment to practical innovation and driver safety in future vehicle designs.
