Ford Motor Company continues to explore new ways to improve everyday driving convenience and safety, and its latest patent filing points in that direction. The automaker has filed a patent for a headlight alignment system that could be used in future Ford vehicles, potentially allowing headlights to automatically adjust themselves for optimal performance.

In recent months, Ford has published several patents focused on automated adjustments inside the vehicle, including systems that automatically reposition seats based on occupancy and driving conditions. This new concept applies similar thinking to exterior lighting, aiming to ensure headlights are always properly aligned without requiring manual adjustments.

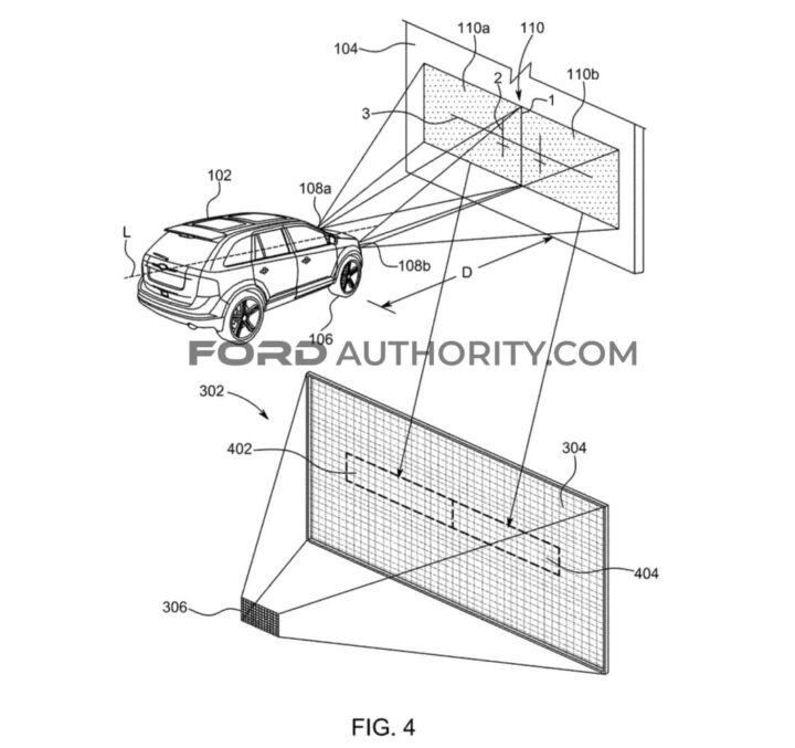
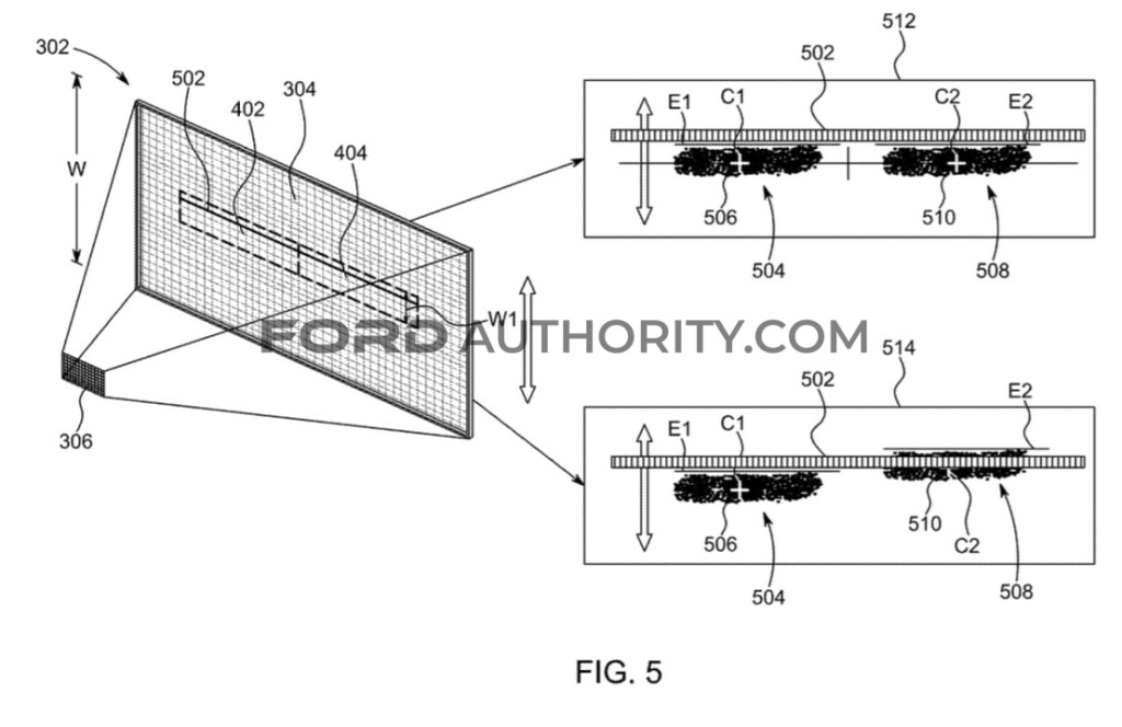
According to the patent, the system would use onboard cameras and image processing to determine ideal headlight alignment. The vehicle’s front-facing camera would capture images and analyze pixel data from designated left and right zones, allowing the system to calculate proper illumination intensity and alignment in real time.
Proper headlight alignment plays a major role in nighttime visibility and overall road safety. Misaligned headlights can reduce a driver’s ability to see clearly while also creating glare for other drivers. An automated system like this could help maintain consistent lighting performance over time, even as vehicle loads, suspension wear, or road conditions change.

Some Ford vehicles already feature advanced lighting technologies such as adaptive and matrix LED headlights that adjust brightness dynamically. A self-aligning headlight system could further enhance these capabilities by ensuring the lights are always positioned correctly, potentially improving both safety and driving comfort.
As with all patent filings, this concept does not guarantee production, but it offers an interesting look at how Ford continues to invest in smart vehicle technology designed to make driving safer and more intuitive in the future.
